Den nye vaskemaskinen min hopper og rister
Problem
- Rister ved førstegangsbruk
- Rister under sentrifugering
- Rister fremdeles når transportsikringene er demontert
- Rister etter installasjon
- Maskinen min flytter på seg under vask
Gjelder for
- Frontmatet vaskemaskin
- Toppmatet vaskemaskin
- Integrert vaskemaskin
- Vaskemaskin med tørketrommel.
Løsning
Det første vi anbefaler å gjøre er å følge brukermanualen, og korrekt installere maskinen. Trykk på for å få tilgang til din bruksanvisning. NB! Anbefaler produktnummer (pnc) når du søker etter
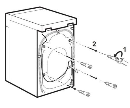
- Demonter transportsikringen, normalt er det 3-4 stykker. Se bilde.
- Sørg for å følge trinnene i brukermanualen, fjerne det som skal fjernes og følg manualene steg for steg

Vi anbefaler å sjekke ut og teste følgende før det bestilles service:
- Sjekk at transportsikringen er fjernet
- Sjekk at produktet er generelt korrekt installert
- Sjekk at vaskemaskinen din er i vater.
- Test med gummiføtter, da denne kan bidra til stabilitet og støyreduksjon. Du kan kjøpe gummiføtter .
Hvis ingen av tipsene over fungerer, anbefaler vi at du bestiller en servicetekniker. Det kan du gjøre på linken.
Ønsker du ytligere help kan du kontakte vårt .
Var denne artikkelen nyttig?
Relaterte artikler
- Hvordan stiller du inn temperaturen på vaskeprogrammet ECO 40-60?
- Dørpakningen i vaskemaskindøren er vridd eller lekker
- Vaskemaskin viser feilmelding E50
- Vaskemaskin viser feil E80
- Fjerning av kalkavleiringer
- Grå merker på tøy etter vask i vaskemaskin
- Vaskemaskinen viser feilkoden E60
- Døren på vaskemaskinen kan ikke åpnes
- Klesvasken er stiv eller har etter vask
- Kan jeg koble vaskemaskinen til en varmtvannskran?